

Autoři
- doc. Dr. Ing. Tadeáš Ochodek
- Ing. Karel Borovec, Ph.D.
- Ing. Tomáš Blejchař, Ph.D.
- Ing. Pavel Friedel
Popis technologie
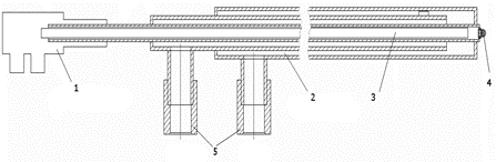
Snižování emisí je dnes nutnou součástí každého procesu spalování fosilních paliv. Provozovatelé uhelných energetických zdrojů musí respektovat zpřísňující se imisními limity. Selektivní nekatalytická redukce je provozovateli uhelných energetických zdrojů preferovaná metoda snižování emisí z důvodu finanční nenáročnosti. Její nevýhodou je však poměrně nízká účinnost (40 až 65 %), která je do značné míry ovlivněna požadovanou teplotou spalin pro řádný průběh chemické reakce. To v praxi znamená nutnost správného umístění trysek ve spalovací komoře tak, aby dávkování reagentu bylo provedeno ve vhodném teplotním okénku. Toto umístění není v současnosti řešeno optimálně, řešení je pouze po stěnách spalovacího prostoru (ohniště, komory).
Vyvinuté zařízení umožňuje cíleně dávkovat reagent do spalin v místech vzdálených od stěn ohniště. Tím je pokryt jeho celý horizontální (částečně i vertikální) průřez a dávkování probíhá po celé ploše ohniště. Toto řešení posunuje dosavadní hranici účinnosti metody SNCR a zlepšuje tak ekonomii provozu tohoto sekundárního opatření na snižování emisí oxidů dusíku. Jedná se o nízkonákladové řešení, které nevyžaduje žádné větší dodatečné úpravy stěn ohniště, přičemž má další pozitivní dopady na provoz kotle (omezení tvorby nánosů, menší vliv na emise ostatních znečišťujících látek, nižší obsah zbytkového amoniaku v popílku).
Stupeň ochrany duševního vlastnictví:
- technologie chráněna českým patentem
Inovace/přínos
- zvýšení účinnosti při snižování emisí nečistot v řádu desítek procent
- snížení nákladů na ekonomiku provozu v souvislosti s emisními povoleními